Risikoloses Entladen - Sicherheit durch selbstregelnde Pumpentechnologie



Herkömmliche Förderung stößt technisch schnell an Grenzen, wie Sadko Meusel, Vertriebsingenieur beim Kreiselpumpenhersteller Bungartz, in seinen Vorträgen erläutert.
Die Liste der Ausfallursachen bei der Förderung durch Standardpumpen ist lang. Fehlbedienungen gehören immer häufiger zu den Problemfeldern. Alle Störungen, die zu Stillstand oder zum Komplettausfall einer Pumpe führen können, sind nicht nur belastend, sie können auch hohe Kosten verursachen. Um Risiken zu minimieren, werden neben einer redundanten Auslegung und einer Ersatzteil-Vorratshaltung zunehmend Diagnose- und Frühwarnsysteme zur Störungserkennung eingesetzt. Der Nachteil: Zusätzliche Systeme bieten weitere mögliche Fehlerquellen.
Konventionelle Entladeverfahren
Bei der Entladung im freien Auslauf wird der Kesselwagen zur Atmosphäre oder Gaspendelleitung hin belüftet. Aufgrund der Schwerkraft fließt das Medium in einen erdverlegten Lagertank. Aus diesem muss das Produkt zu einem späteren Zeitpunkt mittels einer Tauchpumpe wieder gefördert werden. Neben einer langen Entladezeit ist der hohe Infrastrukturaufwand zu berücksichtigen.
Dieser Nachteil macht sich auch bei normal saugenden Pumpen bemerkbar. Um die notwendige Zulaufhöhe bei siedekritischen Medien für den Saugvorgang zu erzielen, ist ein Aufdrücken erforderlich. Dazu werden diese Pumpen z. B. in den Boden eingelassen. Problematisch bei saugenden Kreiselpumpen ist systembedingt die typische Druckabsenkung am Laufradeintritt. Dort entstehen Dampfblasen, die von der Strömung mitgerissen werden können. Im Innern der Pumpe fallen sie in sich zusammen. Zu Recht wird die beschriebene Kavitation gefürchtet. Sie wirkt zerstörerisch und wird teuer: Unterbrechung des Förderstroms, defekte Bauteile bis hin zum Pumpenaustausch sind die Folge. Je mehr der Flüssigkeitsstand im Tank abnimmt desto mehr Gas wird mitgerissen. Die Konsequenz: Ständige Überwachung, denn die Pumpe muss rechtzeitig abgeschaltet werden. Nachteilig wirkt sich weiterhin aus, dass Restmengen in den Tankwagen zurückbleiben. Hinzu kommt, dass diese Pumpen entlüftet werden müssen und oft produktgeschmiert ausgeführt sind. Das heißt die Gleitlager und die Dichtung sind auf das Fördermedium angewiesen. Ein verschmutztes Medium oder unzureichende Entlüftung führt zwangsläufig zu Störungen. Insbesondere bei ausgasenden und siedekritischen Flüssigkeiten ist der Einsatz dieses Pumpentyps nur einschränkt möglich. Ähnliche Schwierigkeiten ergeben sich bei der Entladung mit einer selbstansaugenden Pumpe. Diese Pumpen nutzen oft ein kleines Vorlagevolumen am Laufradeintritt, das ein Fluten der Pumpe gewährleistet. Wird die Pumpe gestartet, kann diese ein gewisses Volumen ansaugen, da sich ein kleiner Unterdruck im Vorlagebehälter aufbaut. Wie bei normal saugenden Pumpen ist ein Mindestvolumenstrom zu beachten. Der NPSH-Wert der Pumpe begrenzt die Entladegeschwindigkeit. (Vereinfacht ausgedrückt ist der NPSH-Wert der Unterdruck bzw. die Druckabsenkung, den die Pumpe im Saugstutzen erzeugt.)
Eine schnelle Entladezeit bietet das Leersaugen durch ein Unterdrucksystem: Einer normal saugenden Pumpe wird zur Überwindung der Ansaugverluste eine Vakuumeinheit vorgeschaltet. Sie gewährleistet, dass die Saugseite der Pumpe immer evakuiert ist und die Förderung nicht abreißt. Dadurch ist eine vollständige Entleerung möglich. Die notwendigen zusätzlichen Komponenten (Vakuumpumpe, Sensorik an Saug- und Druckstutzen) beinhalten viele Fehlerquellen. Zudem wird ein Steuerungskonzept zur Abstimmung aller Komponenten notwendig. Alles in allem eine wenig ökonomische Förderung, denn der Bau von Gruben, die elektrische Regelung, der Personaleinsatz und die Entsorgung der verschwendeten Restmengen sind erhebliche Kostenfaktoren.
Als Alternative zu den normal saugenden Pumpen können selbstentlüftende Seitenkanalpumpen eingesetzt werden. Kleine Restmengen, Gasanteile und die Entlüftung sind gut zu bewältigen. Diese Pumpenart ist zwar trockenlaufsicher, sie kann aber nur bei sehr sauberen Medien eingesetzt werden. Ihr größter Nachteil: Mit dieser Pumpenart kann nur eine verhältnismäßig kleine Entladerate realisiert werden.
Eigensichere Lösung durch Selbstregelverhalten
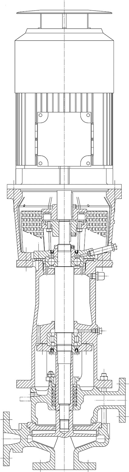
Eine sichere, stressfreie und ökonomisch sinnvolle Alternative ist die Förderung mit selbstregelnden Pumpen. Das als Hersteller von Spezial-Kreiselpumpen bekannte Unternehmen Bungartz, das unlängst sein 70-jähriges Bestehen feiern konnte, setzt seit drei Generationen auf eine spezielle Pumpentechnologie. Frank Bungartz, der heutige Geschäftsführer und Enkel des Gründers erklärt: „Mit Sonderphysik bezeichnen wir das Selbstregelverhalten der Kreiselpumpen aus der Baureihe V-AN. Das AN steht für Automatische Niveauregulierung. Diese Pumpen passen sich eigenständig veränderlichen Zulaufmengen an und arbeiten ohne Saugvermögen“.
Das Prinzip vereinfacht dargestellt: Fließt ein Medium in einen Behälter, steigt der Flüssigkeitsstand so lange bis Zufluss und Abfluss in Behälter im Gleichgewicht sind – ohne jede mechanische oder elektrische Regeleinrichtung. Zusätzlich zum Zulauf und Druckstutzen ist die V-AN mit einem Gasausgleichsstutzen versehen. Dieser wird mit der Gasphase des Vorlagebehälters verbunden. Dadurch verliert die Pumpe die Eigenschaft anzusaugen. Gegenüber normal saugenden Kreiselpumpen, bei der die typische Druckabsenkung am Laufradeintritt systembedingt immer auftritt, ist die V-AN im Vorteil: Sie haben einen niedrigen NPSH-Wert (< 0,1 m) und fördern jedes Medium in jedem Betriebszustand kavitationsfrei. Durch die Druckabsenkung ohne Kavitation bis zum Siedepunkt ist auch die Entleerung von Flüssiggasen unproblematisch.
Kriterium für eine ökonomische Pumpenwahl
Bei einem Neubauprojekt in einer Raffinerie wurde eine Entleerungsstation für Kesselwagen gebaut. Das zu fördernde Medium ist Schwefelsäure. Der Betriebsdruck liegt bei pmax = 10 bar (0), die Betriebstemperatur beträgt T max 100 °C.
Zur Entladung von Kesselwagen werden Pumpen benötigt. Die frühzeitige Planung bezieht den Pumpenhersteller Bungartz ein. Die einfache Entladung von unten wird durch die selbstregelnde Physik der Pumpen aus der Serie V-AN ermöglicht. Eine vollständige Restentleerung ohne Aufdrücken, höchste Sicherheit und sogar bauliche Vereinfachungen geben den Ausschlag für die Pumpenwahl. Auf den Bau einer Grube oder auf andere Infrastrukturanpassungen, die bei Standardpumpen wegen der entsprechenden Zulaufhöhe notwendig geworden wären, kann durch den Einsatz der vertikalen Pumpe aus der Baureihe V-AN komplett verzichtet werden.
Das Ergebnis: höchste Sicherheit und eine hohe Betriebszuverlässigkeit ohne großen Bedienaufwand und Überwachung (keine Störungen, keine Ausfälle durch Mess-, Steuer- und Reglungstechnik).
Die Pumpe arbeitet absolut trockenlaufsicher, selbstentlüftend und ist hermetisch dicht bei Leckagen und damit sehr sparsam. Weitere Kostenvorteile wie großzügige Wartungsintervalle und lange Standzeiten (störungsfreie Entladung von Tankwagen für mindestens 15 Jahre) hinzu. Wie bei der letzten ACHEMA wird es auf dem Messestand 2018 (Halle 8, Stand C) wieder ein Funktionsmodell geben, in diesem Jahr zum Thema Kesselwagenentleerung!.
Meist gelesen

Schlüsselrohstoff für Industrie und Gesellschaft
Hochreines Salz besitzt für Europa strategische Bedeutung – doch der Markt ist konzentriert.

Pioniere aus Tradition
Interview mit Peter Friesenhahn, CEO von Haltermann Carless, über die Ziele des Transformationsprogramms RACE und seine Pläne für das Unternehmen.

Chemiekonjunktur – China auf der Überholspur
Im Jahr 2024 stieg der Anteil Chinas an den globalen Chemieinvestitionen auf rund 45 %. Doch die goldenen Jahre des chinesischen Wirtschaftswunders sind vorbei.

Radikaler Schnitt für gesundes Wachstum – CHT stellt sich neu auf
Die CHT Group gehört zu den Hidden Champions der deutschen Spezialchemie.

Auf der Suche nach der richtigen Formel
Europas Stärke liegt in der Verbindung von Prozesswissen, Anwendungskompetenz und Nachhaltigkeit








